• 广州金朋电镀生产线改造信息公开
    广州金朋电镀生产线改造信息公开

    关于《广州金朋五金制品有限公司电镀生产线改造项目非重大变动论证报告》 信息公开  

    2020-11-14 查看详情
  • 广州金朋建设项目非重大变动论证报告公示
    广州金朋建设项目非重大变动论证报告公示

    关于《广州金朋建设项目非重大变动论证报告公示》 信息公开

    2021-04-06 查看详情
  • 合和携门控新品激情迎战广州建博会,续航新篇章
    合和携门控新品激情迎战广州建博会,续航新篇章

    由中国对外贸易中心(集团)、中国建筑装饰协会主办,中国对外贸易广州展览公司承办的第十七届中国(广州)国际建筑装饰博览会,于2016年12月3-11日在中国进出口商品交易会琶洲展馆(广州市阅江中路380号)举行。合和五金续写上海建博会荣耀,携门控新品精彩亮相本届...

    2017-04-05 查看详情
  • 三价铬镀铬工艺
    三价铬镀铬工艺

    长期以来,电镀铬通常采用六价铬电镀液。近年来,由于六价铬对环境等方面带来污染影响,于是加紧了对三价铬电镀的研究。实际上提出用三价铬代替六价铬的研究已经有很长时间。用三价铬镀装饰铬与六价铬电镀相比,具有很多优异特性,但在实际应用中也存在一些问题,其可镀性受到一定...

    2018-03-14 查看详情
  • 电镀加工原理
    电镀加工原理

    1. 1电镀定意 电镀(electroplating)是一种电离子沉积过程(electrodepos-ition process),是利用电极(electrode)通过电流,使金属附着在物体表面上,其目的为改变物体表面的特性或尺寸。 1. 2电镀目...

    2018-03-14 查看详情
  • 电镀原理解析
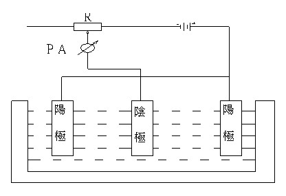
    电镀原理解析

    电镀原理包含四个方面: 电镀液、电镀反应、电极与反应原理、金属的电沉积过程。 首先电镀液有六个要素: 主盐、络合剂、附加盐、缓冲剂、阳极活化剂和添加剂。 电镀反应中的电化学反应: 下图是电镀装置示意图,被镀的零件为阴极,与直流电源的负极...

    2018-03-14 查看详情
12 共 2 页
查看更多
返回首页
  • 业务部 (020)3487-1806
返回顶部